Ingrédients de la machine à blocs de briques

Machine de dosage de la série PLD


Pour les projets de construction, de routes et de ponts


Ingrédients pour machine à blocs de briques modèle PLD800


Évacuation centrale pour conditions humides


Écran pivotant breveté (longue durée de vie)


Décharge par bande transporteuse avec pesage précis


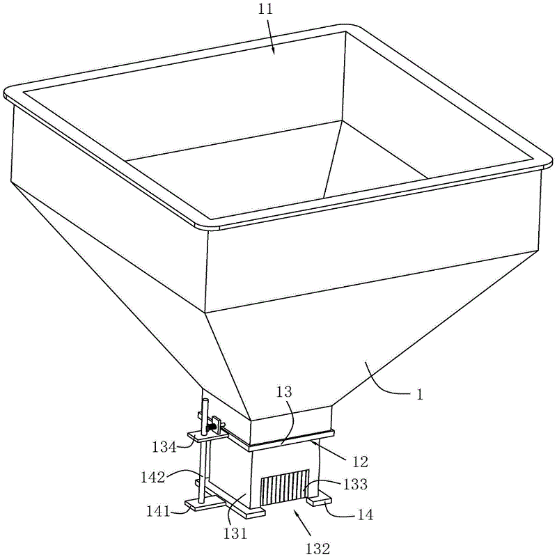
Détails du produit

1. Gestion des silos de matières premières raffinées

Un système de stockage compartimenté est utilisé, chaque silo étant dédié à une matière première spécifique afin d'éviter toute contamination croisée entre les différents matériaux.

Un dispositif de surveillance du niveau de matière (tel qu'un indicateur de niveau radar) est installé pour surveiller en temps réel la matière première restante dans le silo, assurant un réapprovisionnement en temps opportun et évitant le surremplissage.

Ingrédients de la machine à blocs de briques

2. Contrôle quantitatif de l'alimentation

Chaque sortie de silo est équipée d'un dispositif d'alimentation quantitative indépendant (tel qu'un convoyeur à vis ou une balance à bande) pour assurer un dosage précis d'une seule matière première.

Un système de contrôle en boucle fermée utilise un capteur de force pour mesurer la quantité d'alimentation réelle. La vitesse de l'appareil est automatiquement ajustée par comparaison avec la valeur de consigne, garantissant une erreur de rapport inférieure à ±0,5 %.

3. Transport de granulats multi-matériaux

Les matières premières issues de chaque dispositif de dosage sont acheminées vers l'équipement de mélange par un convoyeur à bande convergente ou à raclettes. Une vitesse de convoyage uniforme est maintenue afin d'éviter l'accumulation ou la fragmentation des matériaux.

Numéro de série

nom

Spécification

quantité

unité

1

PLD1200

Entrepôt de stockage de matières premières

4 m³

2

individuel

Écran tremblant

2800*2500

1

individuel

Bac de pesée

0,8 m²

1

individuel

capteur

ZMLBF-1000

3

individuel

Moteur

2,2 kW

2

tour

Moteur de vibration d'écran

2,2 kW

1

tour

Tapis roulant

B500

3

bande

Cadre

Structure en acier

1

ensemble


Laissez vos messages.

Produits connexes

x

Produits populaires

x
x